
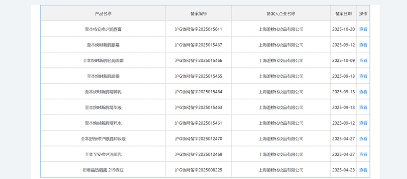
本土护肤品牌“知本”面临公司层面的结构调整。 11月14日,新京报贝壳财经记者从国家企业信用信息公示系统获悉,母公司上海成木生物科技有限公司(以下简称“成木生物”)新增注销登记信息。取消的理由是“解散决议”。此外,公司还发布了债权人公告。母公司因“解散决议”而被注销,客服称这是正常的架构调整。根据国家企业信用信息公示系统显示,成木生物成立于2012年9月25日,注册资本2000万元。经营范围涵盖化妆品制造、化妆品零售、包装材料及产品销售等。拥有“知本”、“富士”等注册商标。公告资料显示,成木生物召开股东大会决议解散,故向公司登记机关上海市宝山区市场监督管理局申请注销。同时成立清算组,发布债权人公告,要求债权人向清算组陈述债权。 成木生物旗下专注“护肤功效”的子公司知本成立于2012年,同年提出“皮肤屏障修复”概念; 2013年推出整理清洁、随笔等产品; 2015年,品牌成立“知本实验室”; 2019年,知本在电商平台开设旗舰店。截至目前,该店拥有562万粉丝,销售产品包括面霜、口红、面膜等品类。凭借“大单品”策略,智本销量将持续增长东南。公开信息显示,2022年至今销售额已突破10亿元大关,同比增长49.92%。截至发稿,我们旗舰店的舒缓清洁、舒缓卸妆液已有超过100万人付费,售价33元的浓郁滋养润唇膏已有超过50万人付费。对于诚木生物注销引发的各种猜测,知本旗舰店客服人员对新京报贝壳财经记者表示,这不会影响品牌后续发展。 “对于网上出现的类似智本母公司注销的情况,这是公司业务框架结构的正常结构。”同时指出,店内销售的所有新版本产品均可向国家药监局进行相关备案查询。 成木生物科技被指控因税务问题约129.93万元。事实上,我们面临着调整的痕迹。今年9月,知本品牌微信公众号运营主体由“上海成木生物科技有限公司”变更为“上海成木生物科技有限公司”。在“上海成木实业发展有限公司”同月,公众号名称也由“知本美容班”更名为“知本”。通用注册信息平台照片/截图。新京报贝壳财经记者查询国内通用化妆品注册信息发现,该公司产品目前注册为上海成木化妆品有限公司,注册信息共计241条,涵盖眼部肌肤预防、平衡肌肤洁面乳、破坏平滑乳液等产品。天眼查信息显示,上海成木化妆品有限公司成立于2018年2月,由上海成木实业全资控股。思鼎发展有限公司,注册资本1亿元,成立于2021年8月。纵观近期的发展时间线,有一条可能与注销成木生物有关的负面新闻:国家税务总局上海税务局行政执法信息公开平台,今年9月19日,成木生物因税务问题受到处罚,处罚的行政决定号为上海水吉思处罚国家税务总局上海税务局[2025]号具体来说,因“扣缴义务人未履行代扣代缴义务,应扣未代扣、应收未征的税款”,根据《中华人民共和国税收征管法》第六十九条,成木生物受到税务机关处罚。 对此,熊强表示在拘留所收集。 “扣缴义务人是指法律、行政法规规定负有代扣代缴、代收代缴税款义务的单位和个人。”熊强进一步分析,如果扣缴义务人未履行法定义务,出现“应扣不扣、收不收”的错误,税务机关首先是向错误的纳税人追回应缴税款,扣缴义务人还将受到不当行为的行政处罚。税收行政处罚对企业的影响超出了“交了罚款就做”。这将导致公司商业声誉受损。供应商和客户会因此担心公司的声誉和运营能力,进而调整合作方式,要求更严格的付款条件或减少订单。”熊强指出,“更严峻的挑战来自于消费者心目中的企业形象和品牌形象可能会受到损害。”新京报贝壳财经记者李政编辑杨娟娟校对陈迪燕